1/ Hình chiếu của các khối hình học

1.1/ Khối đa diện
– Đa diện là mặt tạo bởi các đa giác phẳng ghép kín với nhau. Các cạnh và các đỉnh của đa giác cũng là các cạnh và các đỉnh của đa diện. Để biểu diễn khối đa diện người ta thường biểu diễn các đỉnh, các cạnh và các mặt của nó và vẽ các đường thấy, khuất. ví dụ các khối đa diện sau:
a. Khối hình hộp chữ nhật
b. Khối năng trụ đáy tam giác
c. Khối hình chóp đáy lục giác đều
d. Khối hình chóp cụt đáy tứ giác đều
1.2/ Khối tròn
a. Mặt trụ
Mặt trụ là mặt được hình thành bởi một đường thẳng gọi là đường sinh chuyển động trên một đường cong và luôn cách một đường thẳng khác một đoạn không đổi và song song với đường thẳng đó.
Vậy biểu diễn mặt trụ trên các mặt phẳng hình chiếu chính là biểu diễn tập hợp các đường thẳng song song với một đường thẳng và cách đường thẳng đó một khoảng không đổi ví dụ hình 3.5

b. Mặt nón
Mặt nón được hình thành trên bởi một đường thẳng được gọi là đường sinh chuyển động luôn đi qua một điểm cố định gọi là đỉnh nón và luôn tựa trên một đường cong gọi là đường chuẩn hoặc đáy. Ta ví dụ biểu diễn mặt nón như hình 3.6

c. Mặt cầu
Mặt cầu là mặt được hình thành bằng cách quay một đường tròn quanh một đường kính của nó.
Mặt cầu có các đường bao của hình chiếu đứng và hình chiếu bằng đều là các đường tròn bằng nhau. Hình 3.7
2/ Khái niệm về hình chiếu

Khái niệm: Hình chiếu là hình biểu diễn các phần thấy của vật thể đối với người quan sát . Phần khuất của vật thể được biểu diễn bằng nét đứt để giảm số lượng hình biểu diễn.
Hình chiếu của vật thể bao gồm: hình chiếu cơ bản, hình chiếu phụ và hình chiếu riêng phần
2.1/ Hình chiếu cơ bản
TCVN 5- 78 quy định sáu mặt của một hình hộp được dùng làm sáu hình chiếu cơ bản. Vật thể được đặt giữa người quan sát và mặt phẳng hình chiếu tương ứng.
Trong đó:
- P1: Hình chiếu từ trước( hình chiếu chính, hình chiếu đứng)
- P2: Hình chiếu từ trên( Hình chiếu bằng)
- P3: Hình chiếu từ trái ( Hình chiếu cạnh)
- P4: hình chiếu từ phải
- P5: Hình chiếu từ dưới
- P6: Hình chiếu từ sau.
Các quy ước vẽ hình chiếu:
- Chọn vị trí vật thể để vẽ hình chiếu từ trước ( Hình chiếu chính) sao cho thể hiện nhiều nhất và tương đối rõ ràng nhất những phần tử quan trọng của khối vật thể.
- Căn cứ vào mức độ phức tạp của khối vật thể mà chọn loại hình chiếu và số lượng hình chiếu cho đủ (không thừa, không thiếu)
- Nếu các vị trí các hình chiếu thay đổi vị trí thì phải ký hiệu bằng chữ.
3/ Các loại hình chiếu cơ bản

Là hình biểu diễn các phần thấy của vật thể đối với người quan sát. Cho phép biểu diễn các phần khuất bằng nét đứt để giảm số lượng hình chiếu.
Hình chiếu của vật thể bao gồm hình chiếu cơ bản, hình chiếu phụ, và hình chiếu riêng phần.
3.1/ Sáu hình chiếu cơ bản
Theo TCVN 5-78 qui định sáu mặt của một hình hộp được dùng làm sáu mặt phẳng hình chiếu cơ bản. Vật thể được đặt giữa người quan sát và mặt phẳng chiếu tương ứng. Sau khi chiếu vật thể lên các mặt của hình hộp, các mặt đó sẽ được trải ra trùng với mặt phẳng bản vẽ. Mặt 06 có thể được đặt cạnh mặt 04. Như vậy hình chiếu trên mặt phẳng hình chiếu cơ bản được gọi là hình chiếu cơ bản. Sáu hình chiếu cơ bản có tên gọi và bố trí như sau:
1. Hình chiếu từ trước ( hình chiếu đứng, hình chiếu chính)
2. Hình chiếu từ trên ( hình chiếu bằng)
3. Hình chiếu từ trái
4. Hình chiếu từ phải
5. Hình chiếu từ dưới
6. Hình chiếu từ sau
Nếu hình chiếu từ trên, từ trái, từ dưới, từ phải và từ sau thay đổi vị trí đối với hình chiếu chính như đã qui định ở hình trên thì chúng phải ký hiệu bằng chữ để chỉ tên gọi, và trên hình chiếu liên quan phải vẽ mũi tên chỉ hướng nhìn và kèm theo chữ ký hiệu.
Nếu các hình chiếu cơ bản đặt phân cách với hình biểu diễn chính bởi các hình biểu diễn khác, hoặc không cùng trên một bản vẽ với hình chiếu chính thì các hình chiếu này cũng phải có ký hiệu như trên.
Các phương pháp chiếu và cách bố trí các hình chiếu như hình trên gọi là phương pháp góc phần tư thứ nhất. Đây là phương pháp được sử dụng theo tiêu chuẩn của các nước châu âu và thế giới.

3/ Các quy ước vẽ hình chiếu
3.1/ Chọn vị trí vật thể để vẽ hình chiếu từ trước
– Khi muốn biểu diễn vật thể trên bản vẽ kỹ thuật ta phải thực hiện việc đặt vật thể hoặc là hình dung đặt vật thể theo nguyên tắc sau:
– Đặt vật thể sau cho khi biểu diễn lên hình chiếu đứng thì nó phải thể hiện được cơ bản về kết cấu và hình dạng của vật thể.
– Trên hình chiếu cạnh và chiếu bằng phải bổ xung được toàn bộ các kết cấu và hình dạng chưa thể hiện rõ ở hình chiếu đứng.
– Các kích thước được thể hiện trên các hình chiếu phải là kích thước thật.
– Hình dạng vật thể trên các hình chiếu không bị biến dạng sau phép chiếu.
3.2/ Chọn số hình chiếu và loại hình chiếu thích hợp
Thông thường khi biểu diễn vật thể trên bản vẽ kỹ thuật ta chỉ cần thể hiện trên ba hình chiếu:
- Hình chiếu chính ( hình chiếu đứng)
- Hình chiếu cạnh
- Hình chiếu bằng
Trong trường hợp ba hình chiếu trên không thể hiện được hết về kết cấu và hình dạng của vât thể ta có thể sử dụng thêm một số mặt cắt, một số hình cắt riêng phần, hình trích hoặc phóng to hay thu nhỏ để biểu diễn thêm cho hoàn thiện.
3.3/ Cách ký hiệu hình chiếu cơ bản khi đặt sai vị trí quy định
Theo TCVN 5-78 quy định vị trí các hình chiếu thể hiện trên bản vẽ, nhưng khi bố trí các hình chiếu trên bản vẽ đôi khi ta không để theo quy định mà ta bố trí sao cho bản vẽ hợp lý. Trong trường hợp này ta phải ghi rõ trong bản vẽ hoặc trong khung tên bản vẽ. Ví dụ hình 5.3

3.4/ Cách ghi kích thước hình chiếu vật thể
a/ Phân tích kích thước
Việc ghi kích thước trên bản vẽ thể hiện chính xác độ lớn của vật thể, do đó kích thước này phải được chính xác, đầy đủ và rõ ràng nhất. Gồm các loại kích thước sau:
- Kích thước định hình: là kích thước xác định độ lớn của từng khối hình học cơ bản tạo thành vật thể.
- Kích thước định vị: là kích thước xác định vị trí tương đối giữa các khối hình học cơ bản. Chúng được xác định theo không gian ba chiều, mỗi chiều thông thường có một mặt hoặc một đường để làm chuẩn.
- Kích thước định khối: ( kích thước bao hay kích thước choán chỗ) là kích thước xác định ba chiều chung cho vật thể.
b/ Phân bố kích thước
Để kích thước ghi trên bản vẽ được rõ ràng và đầy đủ ta phải bố trí kích thước hợp lý và theo nguyên tắc sau đây:
- Mỗi kích thước trên bản vẽ chỉ ghi một lần, không được ghi thừa.
- Các kích thước được ghi cho bộ phận nào thì nên ghi ở hình chiếu thể hiện bộ phận đó rõ nhất và không bị biến dạng về mặt hình học và đặc trưng cho bộ phận đó.
- Các kích thước ghi cho một bộ phận và co liên quan thì nên ghi gần nhau.
- Mỗi kích thước được ghio rõ ràng trên bản vẽ và lên ghi ở ngoài hình biểu diễn.
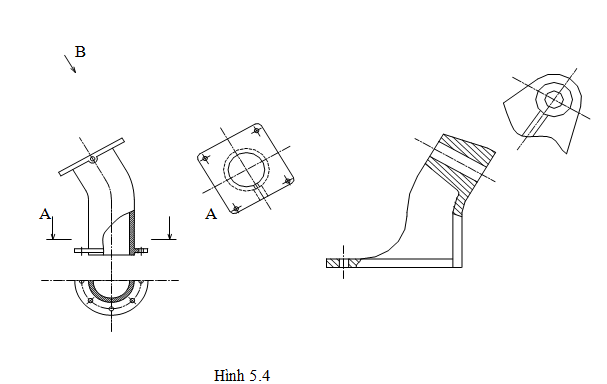
4/ Hình chiếu phụ

4.1/ Định nghĩa
Hình chiếu phụ là hình chiếu trên mặt phẳng không song song với mặt phẳng hình chiếu cơ bản.
a/ Hình chiếu phụ
Hình chiếu phụ là hình chiếu mà trên mặt phẳng hình chiếu không song song với mặt phẳng hình chiếu cơ bản (B )
Hình chiếu phụ được dùng trong trường hợp vật thể có bộ phận nào đó nếu biểu diễn trên mặt phẳng hình chiếu cơ bản thì sẽ bị biến dạng về hình dạng và kích thước
b/ Quy ước
+ Trên hình chiếu phụ có ghi tên hình chiếu bằng chữ B + Hình chiếu phụ phải đặt đúng vị trí liên hệ chiếu và đúng hướng nhìn
c/ Công dụng
– Hình chiếu phụ được dùng trong trường hợp vật thể có bộ phận, chi tiết nào đó nếu biểu diễn trên mặt phẳng hình chiếu cơ bản thì sẽ bị biến dạng về hình dạng và kích thước .
d/ Các quy ước vẽ
Trên hình chiếu phụ phải ghi ký hiệu tên hình chiếu bằng chữ. Nếu hình chiếu phụ được đặt ở vị trí liên hệ trực tiếp ( Đặt cạnh hình chiếu cơ bản có liên quan) thì không cần ký hiệu.
Hình chiếu phụ phải đặt đúng vị trí liên hệ chiếu và đúng hướng nhìn
Để thuận tiện cho phép xoay hình chiếu phụ về vị trí phù hợp với đường bằng của bản vẽ. Trong trường hợp này trên ký hiệu bản vẽ có mũi tên cong để biểu thị hình chiếu đã được xoay.

4.2/ Hình chiếu riêng phần
a. Định nghĩa
– Hình chiếu riêng phần là hình chiếu một phần nhỏ của vật thể trên mặt phẳng song song với mặt phẳng hình chiếu cơ bản.
b. Công dụng
– Hình chiếu riêng phần được dùng để phóng to hoặc thu nhỏ hoặc là để biểu diễn chi tiết phần hoặc bộ phận của vật thể.
c. Các quy ước vẽ
Hình chiếu riêng phần được giới hạn bởi các nét lượn sóng, hoặc không cần vẽ nét lượn sóng nếu có ranh giới rõ rệt.
Hình chiếu riêng phần được ghi chú giống hình chiếu phụ.
4.3/ Hình trích
a/ Định nghĩa
Hình trích là hình biểu diễn ( Thường là hình phóng to) trích ra từ một hình biểu diễn đã có trên bản vẽ.
b/ Công dụng
– Để thể hiện một cách rõ ràng và tỷ mỉ về đường nét, hình dạng, kích thước .. của một chi tiết hay bộ phận nào đó của vật thể mà trên hình biểu diễn chính chưa thể hiện rõ.
c/ Các quy ước vẽ
Trên hình trích cũng có thể vẽ các chi tiết mà trên hình biểu diễn tương ứng chưa thể hiện.
Hình trích cũng có thể là một loại hình biểu diễn khác với hình biểu diễn tương ứng. ( ví dụ hình trích có thể là hình cắt, nhưng hình biểu diễn tương ứng lại là hình chiếu)
Trên hình trích có ghi ký hiệu là chữ số La mã và tỷ lệ phóng to, còn trên hình biểu diễn có thể khoanh tròn hoặc ô val với ký hiệu tương ứng. Nên đặt các hình trích tương ứng gần vị trí đã khoanh ở trên hình biểu diễn của nó.
Những chú thích bằng chữ, bằng số dùng cho các hình chiếu, hình cắt, mặt cắt, hình trích.. cần ghi song song với khung tên chính của bản vẽ và thường ghi ở phía trên bên phải của hình biểu diễn đó.
Những chữ hoa dùng để ký hiệu cho các hình biểu diễn, các mặt và các kích thước của vật thể thường ghi theo thứ tự a, b, c .. và không ghi trùng lặp. Khổ của các chữ này phải lớn hơn khổ của chữ số kích thước. Ví dụ xem các hình 5.6 và 5.7 sau:

5/ Cách đọc bản vẽ hình chiếu vật thể
Một vật thể dù phức tạp hay đơn giản đều được tạo lên từ những khối hình học cơ bản. Hình chiếu của vật thể là tổng hợp hình chiếu của khối hình học cơ bản tạo thành vật thể đó.
Các khối hình học tạo thành vật thể có các vị trí tương đối khác nhau. Tuỳ theo vị trí tương đối của khối hình học mà bề mặt của chúng sẽ tạo thành những giao tuyến khác nhau.
Khi đọc, vẽ hình chiếu của vật thể, ta phải biết phân tích vật thể thành những phần có hình dạng của khối hình học cơ bản và xác định rõ vị trí tương đối giữa chúng, rồi vẽ hình chiếu của từng phần đó và vẽ giao tuyến giữa các mặt của chúng, chúng ta sẽ được hình chiếu của vật thể đó.
Trong khi vẽ cần biết vận dụng các kiến thức cơ bản về biểu diễn điểm, đường, mặt, giao tuyến giữa các mặt để vẽ cho đúng. Cách phân tích từng phần như trên gọi là cách phân tích hình dạng vật thể. Đố là các phương pháp cơ bản để vẽ hình chiếu, để ghi kích thước của vật thể và đọc bản vẽ kỹ thuật.
Ví dụ: khi vẽ ổ đỡ hình sau, ta có thể phân tích ổ đỡ ra làm ba phần: Phần đế có dạng lăng trụ, đáy là hình thang cân, trên đế có hai lỗ hình trụ; phần thân đỡ cũng có dạng năng trụ, một mặt tiếp xúc với mặt trên của đế, mặt cong tiếp xúc với phần ổ; phần ổ là ống hình trụ.

5.1/ Phân tích hình
5.2/ Vẽ hình chiếu
Trong bản vẽ kỹ thuật quy định không vẽ trục hình chiếu, vì vậy khi vẽ hình chiếu thứ ba ta nên chọn một đường làm chuẩn để từ đó xác định các đường nét khác.
Nếu hình chiếu thứ ba là một hình đối xứng ta chọn trục đối xứng làm chuẩn, nếu không đối xứng thì ta chọn đường bao ở biên làm chuẩn. Như hình 5.9
6/ Cách vẽ hình chiếu

6.1/ Cách vẽ hình chiếu thứ 3
– Đọc bản vẽ hình chiếu là một quá trình tư duy không gian từ các hình phẳng hai chiều chuyển hoá thành không gian ba chiều.
– Tuỳ theo năng lực phân tích, khả năng của từng người, mà quá trình đọc bản vẽ của từng người có khác nhau. Song kết quả cuối cùng là phải giống nhau. Cách đọc bản vẽ nói chung có các đặc điểm sau:
6.2/ Hình dung vật thể từ hai hình chiếu cho trước
Chi đọc ngươi đọc phải xác nhận đúng hướng nhìn cho từng hình hình biểu diễn. Theo các hướng nhìn từ trước, từ trên, từ trái để hình dung hình dạng: mặt trước, mặt trên, mặt phải của vật thể.
Phải nắm chắc đặc điểm hình chiếu của các khối hình học cơ bản, rồi căn cứ theo các hình chiếu mà chia vật thể ra thành một số bộ phận. Phân tích hình dạng của từng bộ phận đi đến hình dung toàn bộ vật thể.
Phải phân tích được từng đường nét thể hiện trên các hình chiếu. Các nét này thể hiện đường nét nào của vật thể.
