Các loại liên kết được giải thích
Trước khi đọc bài viết này, bạn cũng có thể thưởng thức Khái niệm cơ bản về liên kết Bài viết ở đây.
Liên kết là một cơ chế được hình thành bằng cách kết nối hai hoặc nhiều đòn bẩy với nhau. Các liên kết có thể được thiết kế để thay đổi hướng của lực hoặc làm cho hai hoặc nhiều vật chuyển động cùng một lúc. Nhiều loại ốc vít khác nhau được sử dụng để kết nối các mối liên kết với nhau nhưng vẫn cho phép chúng di chuyển tự do chẳng hạn như chốt, bu lông có ren cuối cùng với đai ốc và đinh tán được lắp lỏng lẻo. Có hai loại liên kết chung: liên kết phẳng đơn giản và liên kết chuyên biệt phức tạp hơn; cả hai đều có khả năng thực hiện các nhiệm vụ như mô tả đường thẳng hoặc đường cong và thực hiện chuyển động ở các tốc độ khác nhau. Tên của các cơ chế liên kết được đưa ra ở đây được chấp nhận rộng rãi nhưng không được chấp nhận rộng rãi trong tất cả các sách giáo khoa và tài liệu tham khảo. Các liên kết có thể được phân loại theo chức năng chính của chúng:
- Tạo chức năng: chuyển động tương đối giữa các liên kết được kết nối với khung
- Tạo đường dẫn: đường dẫn của một điểm theo dõi
- Tạo chuyển động: chuyển động của liên kết khớp nối
Liên kết phẳng đơn giản
Bốn mối liên kết phẳng đơn giản khác nhau được hiển thị bên dưới được xác định theo chức năng:
- Liên kết chuyển động ngược, Hình a bên dưới có thể làm cho vật thể hoặc lực chuyển động theo hướng ngược lại; điều này có thể được thực hiện bằng cách sử dụng liên kết đầu vào làm đòn bẩy. Nếu trục cố định cách đều các trục chuyển động thì chuyển động của liên kết đầu ra sẽ bằng chuyển động của liên kết đầu vào, nhưng nó sẽ hoạt động theo hướng ngược lại. Tuy nhiên, nếu trục cố định không được căn giữa thì chuyển động của liên kết đầu ra sẽ không bằng chuyển động của liên kết đầu vào. Bằng cách chọn vị trí của trục cố định, liên kết có thể được thiết kế để tạo ra các ưu điểm cơ học cụ thể. Liên kết này cũng có thể được xoay 360°.
- Liên kết đẩy-kéo, Hình b, có thể làm cho các vật hoặc lực chuyển động theo cùng một hướng; liên kết đầu ra di chuyển cùng hướng với liên kết đầu vào. Về mặt kỹ thuật được phân loại là liên kết bốn thanh, nó có thể xoay 360° mà không thay đổi chức năng.

- Liên kết chuyển động song song, Hình C, có thể làm cho các vật hoặc lực chuyển động theo cùng một hướng, nhưng ở một khoảng cách nhất định. Các trục di chuyển và cố định trên các liên kết đối diện trong hình bình hành phải cách đều nhau để liên kết này hoạt động chính xác. Về mặt kỹ thuật được phân loại là liên kết bốn thanh, liên kết này cũng có thể xoay 360° mà không thay đổi chức năng của nó. Pantograph lấy năng lượng cho tàu điện từ cáp trên cao dựa trên liên kết chuyển động song song. Vẽ các thước sao chép cho phép sao chép thủ công các bản vẽ gốc mà không cần đồ lại hoặc sao chụp cũng là sự điều chỉnh của mối liên kết này; ở dạng đơn giản nhất, nó cũng có thể giữ các khay công cụ ở vị trí nằm ngang khi nắp hộp công cụ được mở.
- Cơ cấu liên kết tay quay hình chuông, Hình D, có thể thay đổi hướng của vật hoặc lực một góc 90°. Mối liên kết này rung chuông cửa trước khi phát minh ra tiếng vỗ tay điện. Gần đây cơ chế này đã được điều chỉnh cho phanh xe đạp. Điều này được thực hiện bằng cách ghim hai tay quay chuông uốn cong 90° theo hướng ngược nhau để tạo thành kẹp. Bằng cách siết chặt hai cần điều khiển được liên kết với các đầu vào của mỗi tay quay, các đầu ra sẽ chuyển động cùng nhau. Các khối cao su ở đầu ra của mỗi tay quay ép vào vành bánh xe, khiến xe đạp dừng lại. Nếu các chốt tạo thành trục quay cố định nằm ở điểm giữa của các tay quay thì chuyển động của các mắt xích sẽ bằng nhau. Tuy nhiên, nếu những khoảng cách đó khác nhau thì có thể đạt được lợi thế cơ học.
Liên kết chuyên ngành
Ngoài việc thay đổi chuyển động của vật thể hoặc lực, các liên kết phức tạp hơn đã được thiết kế để thực hiện nhiều chức năng chuyên biệt: Chúng bao gồm vẽ hoặc đồ các đường thẳng; di chuyển các đồ vật hoặc dụng cụ trong hành trình rút lại nhanh hơn trong hành trình kéo dài; và biến chuyển động quay thành chuyển động thẳng và ngược lại. Liên kết chuyên dụng đơn giản nhất là liên kết bốn thanh. Những mối liên kết này đủ linh hoạt để có thể áp dụng trong nhiều ứng dụng khác nhau. Liên kết bốn thanh thực tế chỉ có ba liên kết chuyển động nhưng chúng có một liên kết cố định và bốn khớp chốt hoặc trục xoay. Một cơ chế hữu ích phải có ít nhất bốn mắt xích nhưng các tổ hợp vòng kín gồm ba mắt xích là những thành phần hữu ích trong cấu trúc. Bởi vì bất kỳ liên kết nào có ít nhất một liên kết cố định đều là một cơ cấu, cả liên kết chuyển động song song và liên kết đẩy-kéo được đề cập trước đó đều là máy móc về mặt kỹ thuật.
Liên kết bốn thanh có đặc điểm chung: ba liên kết chuyển động cứng trong đó hai liên kết được gắn bản lề vào các đế cố định tạo thành khung. Các cơ cấu liên kết có khả năng tạo ra chuyển động quay, dao động hoặc chuyển động tịnh tiến bằng chuyển động quay của tay quay. Liên kết có thể được sử dụng để chuyển đổi:
- Xoay liên tục sang dạng quay liên tục khác, với tỷ số vận tốc góc không đổi hoặc thay đổi
- Chuyển động quay liên tục thành dao động hoặc dao động liên tục thành chuyển động quay, với tỷ số vận tốc không đổi hoặc thay đổi
- Một dạng dao động này thành một dạng dao động khác, hoặc một dạng chuyển động tịnh tiến này thành một dạng chuyển động tịnh tiến khác, với tỷ số vận tốc không đổi hoặc thay đổi
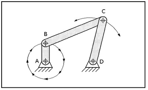
Có bốn cách khác nhau để liên kết bốn thanh có thể thực hiện đảo ngược hoặc hoàn thành các vòng quay về các điểm trục cố định. Một liên kết xoay được coi là bộ phận đầu vào hoặc bộ phận dẫn động và bộ phận còn lại được coi là bộ phận đầu ra hoặc bộ phận dẫn động. Liên kết di chuyển còn lại thường được gọi là liên kết kết nối. Liên kết cố định, được bản lề bằng chốt hoặc trục ở mỗi đầu, được gọi là liên kết móng.

Cơ cấu tay quay, Hình trên, thể hiện sự đảo ngược thứ hai. Liên kết ngắn nhất AB tiếp giáp với AD, liên kết nền tảng. Liên kết AB có thể thực hiện một vòng quay 360 độ đầy đủ trong khi liên kết CD ngược lại chỉ có thể dao động và mô tả một vòng cung.

Cơ cấu lắc đôi bên dưới thể hiện sự đảo ngược thứ ba. Liên kết AD là liên kết nền tảng và nằm đối diện với liên kết ngắn nhất BC. Mặc dù khâu BC có thể thực hiện một vòng quay 360 độ đầy đủ nhưng cả hai khâu quay AB và CD chỉ có thể dao động và mô tả các cung.

Đảo ngược thứ tư là một cơ chế tay quay khác hoạt động theo cách tương tự như cơ chế hiển thị bên dưới

Máy phát điện đường thẳng
Các liên kết có khả năng mô tả các đường thẳng được gọi là các bộ tạo đường thẳng. Những liên kết này là thành phần quan trọng trong nhiều loại máy móc, đặc biệt là máy công cụ. Kích thước của các liên kết cứng đóng vai trò quan trọng trong việc đảm bảo các cơ chế này hoạt động chính xác.
Một ví dụ về máy phát điện đường thẳng là máy phát điện đường thẳng Watt. Liên kết này có thể mô tả một đường thẳng đứng ngắn. Nó bao gồm các liên kết có chiều dài bằng nhau AB và CD, lần lượt được gắn bản lề tại A và D. Điểm giữa E của khâu nối BC vẽ theo hình số 8 trên toàn bộ hành trình dịch chuyển của cơ cấu, nhưng một đường thẳng được vẽ trong một phần của hành trình vì điểm E phân kỳ sang trái ở đầu hành trình và sang phải ở cuối hành trình. cú đột quỵ. Nhà sản xuất dụng cụ người Scotland James Watt đã sử dụng liên kết này trong máy bơm chùm điều khiển bằng hơi nước vào khoảng năm 1769, và nó cũng là một cơ chế nổi bật trong các máy chạy bằng hơi nước thời kỳ đầu.
Một ví dụ khác về máy tạo đường thẳng là máy tạo đường thẳng Scott Russell. Liên kết này cũng có thể mô tả một đường thẳng. Liên kết AB được gắn bản lề tại điểm A và được ghim vào liên kết CD tại điểm B. Liên kết CD được gắn bản lề với một con lăn tại điểm C, điều này hạn chế nó chuyển động dao động theo phương ngang.



Liên kết quay/tuyến tính
Liên kết quay/tuyến tính, còn được gọi là cơ cấu tay quay con trượt, là các thiết bị cơ khí chuyển đổi chuyển động quay thành chuyển động tuyến tính hoặc ngược lại. Chúng bao gồm ba liên kết – một tay quay quay, một thanh kết nối trượt và một khối trượt hoặc piston.
Tay quay là một đòn bẩy quay được gắn vào động cơ hoặc động cơ, trong khi thanh kết nối là một liên kết cứng trượt qua lại trong một kênh hoặc một rãnh. Khối trượt hoặc piston được gắn vào đầu thanh nối và chuyển động theo hướng tuyến tính.
Khi tay quay quay, nó sẽ di chuyển thanh kết nối qua lại, làm cho khối trượt hoặc piston chuyển động theo hướng tuyến tính. Chuyển động tuyến tính này có thể được sử dụng để thực hiện công, chẳng hạn như lái máy bơm, nâng tải hoặc di chuyển băng tải.
Điều ngược lại cũng đúng – chuyển động thẳng có thể biến thành chuyển động quay. Khi có một lực tác dụng lên khối trượt hoặc piston, nó sẽ di chuyển thanh kết nối tới lui làm cho tay quay quay. Chuyển động quay này có thể được sử dụng để cung cấp năng lượng cho máy phát điện, lưỡi cưa hoặc bánh mài.
Cơ cấu tay quay con trượt được sử dụng rộng rãi trong nhiều ứng dụng khác nhau, bao gồm động cơ, máy bơm, máy nén và nhiều loại thiết bị sản xuất. Chúng hiệu quả, đáng tin cậy và dễ bảo trì, khiến chúng trở thành một thành phần thiết yếu của nhiều quy trình công nghiệp.

Cơ chế Scotch-yoke hoạt động như thế nào
Cơ cấu Scotch-yoke là một loại cơ cấu chuyển động tịnh tiến chuyển đổi chuyển động quay thành chuyển động tuyến tính. Nó được đặt theo tên của kỹ sư người Scotland James Watt, người đã sử dụng nó trong động cơ hơi nước.
Cơ cấu này bao gồm một trục khuỷu quay có gắn một chốt, gọi là ách. Gọng di chuyển tới lui dọc theo một đường thẳng, được dẫn hướng bởi một rãnh trên khối trượt hoặc thanh trượt. Thanh trượt được kết nối với piston hoặc thiết bị khác yêu cầu chuyển động tuyến tính.
Khi trục khuỷu quay, gông chuyển động tới lui theo một đường thẳng, đẩy và kéo con trượt cùng với nó. Chuyển động của thanh trượt có thể được sử dụng để thực hiện công, chẳng hạn như bơm chất lỏng hoặc di chuyển vật thể dọc theo đường ray.
Ưu điểm chính của cơ cấu Scotch-yoke là nó cung cấp chuyển động vận tốc ổn định, trơn tru cho thanh trượt, không giống như các cơ chế khác có thể tạo ra chuyển động giật hoặc không đều. Tuy nhiên, nó cũng có một số nhược điểm như độ ma sát và mài mòn cao do tiếp xúc trượt giữa chốt và con trượt, đồng thời cần căn chỉnh chính xác giữa chốt và con trượt để tránh bị kẹt.
Nhìn chung, cơ cấu Scotch-yoke là một cách đơn giản và hiệu quả để chuyển chuyển động quay thành chuyển động thẳng và nó đã được sử dụng trong nhiều ứng dụng, bao gồm động cơ, máy bơm và thiết bị sản xuất.

Cơ chế quay sang tuyến tính hoạt động như thế nào
Cơ cấu quay thành tuyến tính là một loại cơ cấu chuyển đổi chuyển động quay thành chuyển động tuyến tính. Điều này có thể đạt được thông qua nhiều cơ chế khác nhau, mỗi cơ chế đều có những ưu điểm và nhược điểm riêng.
Một loại cơ cấu quay thành tuyến tính phổ biến là cơ cấu trục vít, bao gồm một trục vít và một đai ốc. Vít có trục ren được quay bằng động cơ hoặc nguồn chuyển động quay khác. Đai ốc được luồn vào vít và di chuyển dọc theo chiều dài của vít khi nó quay. Chuyển động tuyến tính này có thể được sử dụng để thực hiện công, chẳng hạn như di chuyển một bệ hoặc nâng một vật nặng.
Một loại cơ cấu quay-tuyến tính khác là cơ cấu trục khuỷu, loại cơ cấu này thường được sử dụng trong động cơ. Trục khuỷu có một loạt các tay quay hoặc trục được đặt lệch khỏi đường tâm của trục. Khi trục quay, các tay quay sẽ đẩy và kéo các thanh kết nối được gắn vào piston hoặc các thiết bị khác yêu cầu chuyển động tuyến tính.
Tuy nhiên, một loại cơ cấu quay thành tuyến tính khác là cơ cấu cam, sử dụng một cam quay để tạo ra chuyển động tuyến tính. Cam có hình dạng không tròn làm cho bộ phận dẫn động, chẳng hạn như con lăn hoặc đòn bẩy, chuyển động theo đường thẳng khi cam quay. Điều này có thể được sử dụng để thực hiện nhiều chức năng khác nhau, chẳng hạn như mở và đóng van hoặc di chuyển bệ dọc theo đường ray.
Nhìn chung, cơ cấu quay thành tuyến tính là thành phần thiết yếu trong nhiều máy móc và thiết bị. Việc lựa chọn cơ chế phụ thuộc vào các yếu tố như lượng chuyển động tuyến tính cần thiết, tốc độ và độ chính xác của chuyển động cũng như không gian và nguồn năng lượng sẵn có.

Để hiểu các loại đòn bẩy khác, chúng tôi đã tạo một số bài đăng trên blog về các loại đòn bẩy được hiển thị bên dưới:
